
國家高新技術企業
廣東專精特新企業
英文站
網站地圖
木材的靜力硬度試驗,按國標GB/T1941-2009要求,用于木材無疵小試樣面硬度的測定。使用試驗機來完成檢測。
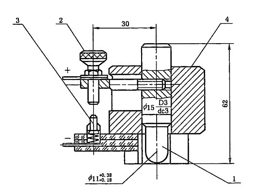
木材具有抵抗其他剛體壓入的能力,用規定半徑的半球型鋼壓頭,在靜載荷下壓入木材以表示其硬度。
試樣要求尺寸為70mm*50mm*50mm,長度為順紋方向,試樣支座要求和檢查、試樣含水率的調整,應分別負荷GB/T 1928-2009的規定。
將試樣放于試驗機支座上,以3~6mm/min的均勻速度將半球型鋼壓頭壓入試樣的試驗面,直至壓入5.64mm深為止,載荷讀數精確至10N.對于加壓過程中易裂的試樣,半球型鋼壓頭的壓入深度允許減至2.82mm。

